| Vacuum Tube Tester Hickok TV−2C/U 備品修理記録 | ||||||||||||||||||||||||||||||||||||||||||||||||||||||||||||||||
| 「整流管83」、「整流管5Y3GT」をダイオードに単純に交換すると、電源が強化する事になり、相互コンダクタンスの測定には信頼性(精度)が増すことになります。 しかし、チャートのAver.Mut.Cond.とは誤差がでます。又、他の試験方法にも誤差がでます。よって、回路の変更、全体的な調整・校正が必要となります。 | ||||||||||||||||||||||||||||||||||||||||||||||||||||||||||||||||
A. 修理前の状況
B. 修理・調整前の測定 K. ケース修理の状況 C. 改造・修理・清掃状況。
E. Gm直読み最終校正・測定 F. 高Gm管、高出力管のGm測定 G. 最近の出力真空管 「Gm & Ip」 測定 J. YAHOOオークションで購入「6G−B8」12本+手持ち「6G−B8」13本の「Gm & Ip」測定 H. 変更回路図 |
||||||||||||||||||||||||||||||||||||||||||||||||||||||||||||||||
| A. 修理前の状況。 A1. 上蓋内側。 |
||||||||||||||||||||||||||||||||||||||||||||||||||||||||||||||||
![]() |
||||||||||||||||||||||||||||||||||||||||||||||||||||||||||||||||
| A12. ロール(チャート)のハンドル・ホイールが逆付け。 | ||||||||||||||||||||||||||||||||||||||||||||||||||||||||||||||||
![]() |
||||||||||||||||||||||||||||||||||||||||||||||||||||||||||||||||
| A2. パネル。 | ||||||||||||||||||||||||||||||||||||||||||||||||||||||||||||||||
![]() |
||||||||||||||||||||||||||||||||||||||||||||||||||||||||||||||||
| A22. メータ類は封印されている | ||||||||||||||||||||||||||||||||||||||||||||||||||||||||||||||||
![]() |
||||||||||||||||||||||||||||||||||||||||||||||||||||||||||||||||
| A3. 太く・堅い電源コード | ||||||||||||||||||||||||||||||||||||||||||||||||||||||||||||||||
![]() |
||||||||||||||||||||||||||||||||||||||||||||||||||||||||||||||||
| A32. 電源コードの付け根の被服が剥けている | ||||||||||||||||||||||||||||||||||||||||||||||||||||||||||||||||
![]() |
||||||||||||||||||||||||||||||||||||||||||||||||||||||||||||||||
| A33. 「プレートキャップコード」と「グリッドキャップコード」 はコネクター方式に変更する | ||||||||||||||||||||||||||||||||||||||||||||||||||||||||||||||||
![]() |
||||||||||||||||||||||||||||||||||||||||||||||||||||||||||||||||
| A4. パネル裏。 スペア真空管は無い。 | ||||||||||||||||||||||||||||||||||||||||||||||||||||||||||||||||
![]() |
||||||||||||||||||||||||||||||||||||||||||||||||||||||||||||||||
| A42. パネル裏。 下から見る | ||||||||||||||||||||||||||||||||||||||||||||||||||||||||||||||||
![]() |
||||||||||||||||||||||||||||||||||||||||||||||||||||||||||||||||
| A43. パネル裏。 上から見る、電解コンデンサーはピカピカ! | ||||||||||||||||||||||||||||||||||||||||||||||||||||||||||||||||
![]() |
||||||||||||||||||||||||||||||||||||||||||||||||||||||||||||||||
| A44. 挟まっていた配線 | ||||||||||||||||||||||||||||||||||||||||||||||||||||||||||||||||
![]() |
||||||||||||||||||||||||||||||||||||||||||||||||||||||||||||||||
| A45. 挟まっていた配線のケースゴム上痕跡 | ||||||||||||||||||||||||||||||||||||||||||||||||||||||||||||||||
![]() |
||||||||||||||||||||||||||||||||||||||||||||||||||||||||||||||||
| A5. 下ケース内側。 配線図は張って無い。 | ||||||||||||||||||||||||||||||||||||||||||||||||||||||||||||||||
![]() |
||||||||||||||||||||||||||||||||||||||||||||||||||||||||||||||||
| A6. 1960年代の水銀たっぷり入った「整流管83」、と ヒーター絶縁型「整流管6X4W」 | ||||||||||||||||||||||||||||||||||||||||||||||||||||||||||||||||
![]() |
||||||||||||||||||||||||||||||||||||||||||||||||||||||||||||||||
| B. 修理・調整前の測定。 B11. FilamentVolt=0.625V |
||||||||||||||||||||||||||||||||||||||||||||||||||||||||||||||||
![]() |
||||||||||||||||||||||||||||||||||||||||||||||||||||||||||||||||
| B12. FilamentVolt=2.5V | ||||||||||||||||||||||||||||||||||||||||||||||||||||||||||||||||
![]() |
||||||||||||||||||||||||||||||||||||||||||||||||||||||||||||||||
| B13. FilamentVolt=7.5V | ||||||||||||||||||||||||||||||||||||||||||||||||||||||||||||||||
![]() |
||||||||||||||||||||||||||||||||||||||||||||||||||||||||||||||||
| B14. FilamentVolt=25V | ||||||||||||||||||||||||||||||||||||||||||||||||||||||||||||||||
![]() |
||||||||||||||||||||||||||||||||||||||||||||||||||||||||||||||||
| B15. FilamentVolt=70V | ||||||||||||||||||||||||||||||||||||||||||||||||||||||||||||||||
![]() |
||||||||||||||||||||||||||||||||||||||||||||||||||||||||||||||||
| B16. FilamentVolt=117V | ||||||||||||||||||||||||||||||||||||||||||||||||||||||||||||||||
![]() |
||||||||||||||||||||||||||||||||||||||||||||||||||||||||||||||||
| B21. PlateVolt=250V | ||||||||||||||||||||||||||||||||||||||||||||||||||||||||||||||||
![]() |
||||||||||||||||||||||||||||||||||||||||||||||||||||||||||||||||
| B22. PlateVolt=100V | ||||||||||||||||||||||||||||||||||||||||||||||||||||||||||||||||
![]() |
||||||||||||||||||||||||||||||||||||||||||||||||||||||||||||||||
| B23. PlateVolt=AC35V | ||||||||||||||||||||||||||||||||||||||||||||||||||||||||||||||||
![]() |
||||||||||||||||||||||||||||||||||||||||||||||||||||||||||||||||
| B24. PlateVolt=AC22V | ||||||||||||||||||||||||||||||||||||||||||||||||||||||||||||||||
![]() |
||||||||||||||||||||||||||||||||||||||||||||||||||||||||||||||||
| B31. ScreenVolt=250V | ||||||||||||||||||||||||||||||||||||||||||||||||||||||||||||||||
![]() |
||||||||||||||||||||||||||||||||||||||||||||||||||||||||||||||||
| B32. ScreenVolt=150V | ||||||||||||||||||||||||||||||||||||||||||||||||||||||||||||||||
![]() |
||||||||||||||||||||||||||||||||||||||||||||||||||||||||||||||||
| B33. ScreenVolt=90V | ||||||||||||||||||||||||||||||||||||||||||||||||||||||||||||||||
![]() |
||||||||||||||||||||||||||||||||||||||||||||||||||||||||||||||||
| B41. BiasVolt=−50V | ||||||||||||||||||||||||||||||||||||||||||||||||||||||||||||||||
![]() |
||||||||||||||||||||||||||||||||||||||||||||||||||||||||||||||||
| B42. BiasVolt=−10V | ||||||||||||||||||||||||||||||||||||||||||||||||||||||||||||||||
![]() |
||||||||||||||||||||||||||||||||||||||||||||||||||||||||||||||||
| B43. BiasVolt=−5V | ||||||||||||||||||||||||||||||||||||||||||||||||||||||||||||||||
![]() |
||||||||||||||||||||||||||||||||||||||||||||||||||||||||||||||||
| B51. SignalVolt=0.25V(Gm−SignalRange=A、B、C) | ||||||||||||||||||||||||||||||||||||||||||||||||||||||||||||||||
![]() |
||||||||||||||||||||||||||||||||||||||||||||||||||||||||||||||||
| B52. SignalVolt=0.5V(Gm−SignalRange=D) | ||||||||||||||||||||||||||||||||||||||||||||||||||||||||||||||||
![]() |
||||||||||||||||||||||||||||||||||||||||||||||||||||||||||||||||
| B53. SignalVolt=2.5V(Gm−SignalRange=E) | ||||||||||||||||||||||||||||||||||||||||||||||||||||||||||||||||
![]() |
||||||||||||||||||||||||||||||||||||||||||||||||||||||||||||||||
| K. ケース修理の状況。 K11. 修理前。 上から見る |
||||||||||||||||||||||||||||||||||||||||||||||||||||||||||||||||
![]() |
||||||||||||||||||||||||||||||||||||||||||||||||||||||||||||||||
| K12. 修理前。 上から見る | ||||||||||||||||||||||||||||||||||||||||||||||||||||||||||||||||
![]() |
||||||||||||||||||||||||||||||||||||||||||||||||||||||||||||||||
| K13. 修理後。 上から見る | ||||||||||||||||||||||||||||||||||||||||||||||||||||||||||||||||
![]() |
||||||||||||||||||||||||||||||||||||||||||||||||||||||||||||||||
| K14. 修理前。 前左上から見る | ||||||||||||||||||||||||||||||||||||||||||||||||||||||||||||||||
![]() |
||||||||||||||||||||||||||||||||||||||||||||||||||||||||||||||||
| K15. 修理後。 前左上から見る | ||||||||||||||||||||||||||||||||||||||||||||||||||||||||||||||||
![]() |
||||||||||||||||||||||||||||||||||||||||||||||||||||||||||||||||
| K16. 修理前。 後右上から見る | ||||||||||||||||||||||||||||||||||||||||||||||||||||||||||||||||
![]() |
||||||||||||||||||||||||||||||||||||||||||||||||||||||||||||||||
| K17. 修理後。 後右上から見る | ||||||||||||||||||||||||||||||||||||||||||||||||||||||||||||||||
![]() |
||||||||||||||||||||||||||||||||||||||||||||||||||||||||||||||||
| K21. 修理前。 下から見る | ||||||||||||||||||||||||||||||||||||||||||||||||||||||||||||||||
![]() |
||||||||||||||||||||||||||||||||||||||||||||||||||||||||||||||||
| K22. 修理後。 下から見る | ||||||||||||||||||||||||||||||||||||||||||||||||||||||||||||||||
![]() |
||||||||||||||||||||||||||||||||||||||||||||||||||||||||||||||||
| K23. 修理前。 後下から見る | ||||||||||||||||||||||||||||||||||||||||||||||||||||||||||||||||
![]() |
||||||||||||||||||||||||||||||||||||||||||||||||||||||||||||||||
| K24. 修理後。 後下から見る | ||||||||||||||||||||||||||||||||||||||||||||||||||||||||||||||||
![]() |
||||||||||||||||||||||||||||||||||||||||||||||||||||||||||||||||
| K25. 修理前。 後左下から見る | ||||||||||||||||||||||||||||||||||||||||||||||||||||||||||||||||
![]() |
||||||||||||||||||||||||||||||||||||||||||||||||||||||||||||||||
| K26. 修理後。 後左下から見る | ||||||||||||||||||||||||||||||||||||||||||||||||||||||||||||||||
![]() |
||||||||||||||||||||||||||||||||||||||||||||||||||||||||||||||||
| K27. 修理前。 前右下から見る | ||||||||||||||||||||||||||||||||||||||||||||||||||||||||||||||||
![]() |
||||||||||||||||||||||||||||||||||||||||||||||||||||||||||||||||
| K28. 修理後。 前右下から見る | ||||||||||||||||||||||||||||||||||||||||||||||||||||||||||||||||
![]() |
||||||||||||||||||||||||||||||||||||||||||||||||||||||||||||||||
| K29. 修理後。 取っ手も補強する。 | ||||||||||||||||||||||||||||||||||||||||||||||||||||||||||||||||
![]() |
||||||||||||||||||||||||||||||||||||||||||||||||||||||||||||||||
| C. 改造・修理・清掃状況。 C11. 修理前。 太く・堅い電源コード。 |
||||||||||||||||||||||||||||||||||||||||||||||||||||||||||||||||
![]() |
||||||||||||||||||||||||||||||||||||||||||||||||||||||||||||||||
| C12. 修理後。 太く・堅い電源コードを交換する。 | ||||||||||||||||||||||||||||||||||||||||||||||||||||||||||||||||
![]() |
||||||||||||||||||||||||||||||||||||||||||||||||||||||||||||||||
| C21. 修理前。 「プレートキャップコード」と「グリッドキャップコード」。 | ||||||||||||||||||||||||||||||||||||||||||||||||||||||||||||||||
![]() |
||||||||||||||||||||||||||||||||||||||||||||||||||||||||||||||||
| C22. 修理後。 「プレートキャップコード」と 「グリッドキャップコード」 はコネクター方式に変更。 | ||||||||||||||||||||||||||||||||||||||||||||||||||||||||||||||||
![]() |
||||||||||||||||||||||||||||||||||||||||||||||||||||||||||||||||
| C23. 修理後。 アースラグ端子を取り付ける、何かと重宝! | ||||||||||||||||||||||||||||||||||||||||||||||||||||||||||||||||
![]() |
||||||||||||||||||||||||||||||||||||||||||||||||||||||||||||||||
| C31. 修理後。 「PercentQualityMeter」、 「PlateVoltMeter」に保護ダイオード挿入 | ||||||||||||||||||||||||||||||||||||||||||||||||||||||||||||||||
![]() |
||||||||||||||||||||||||||||||||||||||||||||||||||||||||||||||||
| C41. 修理中。 メータはシ−ルされている | ||||||||||||||||||||||||||||||||||||||||||||||||||||||||||||||||
![]() |
||||||||||||||||||||||||||||||||||||||||||||||||||||||||||||||||
| C42. 修理中。 カウルの凹み修理 | ||||||||||||||||||||||||||||||||||||||||||||||||||||||||||||||||
![]() |
||||||||||||||||||||||||||||||||||||||||||||||||||||||||||||||||
| C43. 修理中。 カウルの塗装 | ||||||||||||||||||||||||||||||||||||||||||||||||||||||||||||||||
![]() |
||||||||||||||||||||||||||||||||||||||||||||||||||||||||||||||||
| C44。 修理中 ついでに、止めネジも塗装する | ||||||||||||||||||||||||||||||||||||||||||||||||||||||||||||||||
![]() |
||||||||||||||||||||||||||||||||||||||||||||||||||||||||||||||||
| C45. 修理中。 ついでに、パネル止めネジも塗装する | ||||||||||||||||||||||||||||||||||||||||||||||||||||||||||||||||
![]() |
||||||||||||||||||||||||||||||||||||||||||||||||||||||||||||||||
| C51. 修理後。 「整流管83」、「整流管6X4」をダイオードに置き換える。 これで、電源100Vでもプレート電圧250Vに到達する。 但し、下記の様に改造・調整が必要です。 |
||||||||||||||||||||||||||||||||||||||||||||||||||||||||||||||||
![]() |
||||||||||||||||||||||||||||||||||||||||||||||||||||||||||||||||
| C61. 修理後。 空いている(未使用)の多分ノイズ端子のソケット? を利用して、プレート電流を測定する。 シャント抵抗が50Ωなので、5.0V=100mAとなる |
||||||||||||||||||||||||||||||||||||||||||||||||||||||||||||||||
![]() |
||||||||||||||||||||||||||||||||||||||||||||||||||||||||||||||||
| C62. 修理中。 プレート安全抵抗は少し焼けていたが、47Ωが31Ωに変化していた! 50Ωに交換する。 | ||||||||||||||||||||||||||||||||||||||||||||||||||||||||||||||||
![]() |
||||||||||||||||||||||||||||||||||||||||||||||||||||||||||||||||
| C63. 修理中. 普通抵抗は焼けると増が? これは「31Ω」! | ||||||||||||||||||||||||||||||||||||||||||||||||||||||||||||||||
![]() |
||||||||||||||||||||||||||||||||||||||||||||||||||||||||||||||||
| C71. 修理中。 前面パネルの曲がり取り。 機器に衝撃を与えないように、万力で行う。 | ||||||||||||||||||||||||||||||||||||||||||||||||||||||||||||||||
![]() |
||||||||||||||||||||||||||||||||||||||||||||||||||||||||||||||||
| C81. 修理後。 RollChartHousingAssembly分解・清掃・調整・給油する。 | ||||||||||||||||||||||||||||||||||||||||||||||||||||||||||||||||
![]() |
||||||||||||||||||||||||||||||||||||||||||||||||||||||||||||||||
| C82. 修理後。 RollChartHousingAssembly分解・清掃・調整・給油する。 | ||||||||||||||||||||||||||||||||||||||||||||||||||||||||||||||||
![]() |
||||||||||||||||||||||||||||||||||||||||||||||||||||||||||||||||
| C91. 修理前 取っ手。 | ||||||||||||||||||||||||||||||||||||||||||||||||||||||||||||||||
![]() |
||||||||||||||||||||||||||||||||||||||||||||||||||||||||||||||||
| C92. 修理中 取っ手、 軸受けにテフロンライナーを取り付け。 | ||||||||||||||||||||||||||||||||||||||||||||||||||||||||||||||||
![]() |
||||||||||||||||||||||||||||||||||||||||||||||||||||||||||||||||
| C93. 修理後 取っ手。 | ||||||||||||||||||||||||||||||||||||||||||||||||||||||||||||||||
![]() |
||||||||||||||||||||||||||||||||||||||||||||||||||||||||||||||||
| CA1. 「整流管83」、「整流管6X4」をダイオードに交換しましたので以下の確認・調整が必要です。 1. Filament Voltage=電圧の確認する。 2. Plate Voltage= G・H・J=250V、K・L・M=125V、N=O=90V,Q=62.5V。 AC電圧は下記。 3. Screen Voltage G=DC250V〜225V、H・K=180V、J・L=135V,M・N=90V、P=45V。 4. Grid Bias Voltage 50Vレンジ=−50Vmax、10Vレンジ=−10Vmax、5Vレンジ=−5Vmax 。 5. Grid Signal Voltage A・B・C=AC0.25V、D=AC0.5V、E=AC2.5V。 6a. Rectifirt Test Voltage AC20V=以下の様にゼナーダイオード+ダイオード挿入(下写真右下2個) 6b. Rectifirt Test Voltage AC35V=以下の様にゼナーダイオード+ダイオード挿入(下写真左上1個) 左下端の丸い黄色いのはポリSWで1.5Aで遮断する。 7. Short Test Voltage=ShortTest SW Sect4Rear No11と抵抗「R35」の間に抵抗を挿入して調整する。 8. その他改造場所。 a. 節電の為、Filamentトランス1次に挿入してある1KΩをはずす。 但し、調整は真空管挿入後行う事。 b. 電圧調整範囲の拡大の為、Screen調整VR(R54)と10KΩ(R55)を直列に接続する。 |
||||||||||||||||||||||||||||||||||||||||||||||||||||||||||||||||
![]() |
||||||||||||||||||||||||||||||||||||||||||||||||||||||||||||||||
| CA2. ヒータトランスに挿入したポリSWで1.2Aで遮断する。 | ||||||||||||||||||||||||||||||||||||||||||||||||||||||||||||||||
![]() |
||||||||||||||||||||||||||||||||||||||||||||||||||||||||||||||||
| K1. 完成。 シャーシ裏を見る。 戦争の道具として意に沿わず従軍した「労苦」を労い、「還暦」を迎えられるよう、アルミや鉄部に錆止めを塗布。 「労苦」=It has had a hard time putting years though the fatigue of "Fatigue" is the same meaning as 'Hardship'. Especially, when showing appreciation for pains for the elder etc. , it uses it. 「還暦」=The sexagenary cycle (ten drying up twelve zodiacal signs) comes back, and it ..the 60th birthday (.. returns to year's sexagenary cycle that became a reckoning point again with [kanreki]). |
||||||||||||||||||||||||||||||||||||||||||||||||||||||||||||||||
![]() |
||||||||||||||||||||||||||||||||||||||||||||||||||||||||||||||||
| K2. 完成。 シャーシ裏を前から見る。 | ||||||||||||||||||||||||||||||||||||||||||||||||||||||||||||||||
![]() |
||||||||||||||||||||||||||||||||||||||||||||||||||||||||||||||||
| K3. 完成。 シャーシ裏を右から見る。 | ||||||||||||||||||||||||||||||||||||||||||||||||||||||||||||||||
![]() |
||||||||||||||||||||||||||||||||||||||||||||||||||||||||||||||||
| K4. 完成。 シャーシ裏を左から見る。 | ||||||||||||||||||||||||||||||||||||||||||||||||||||||||||||||||
![]() |
||||||||||||||||||||||||||||||||||||||||||||||||||||||||||||||||
| K5. 完成。 シャーシ裏を後から見る。 | ||||||||||||||||||||||||||||||||||||||||||||||||||||||||||||||||
![]() |
||||||||||||||||||||||||||||||||||||||||||||||||||||||||||||||||
E. Gm直読み最終校正・測定。
|
||||||||||||||||||||||||||||||||||||||||||||||||||||||||||||||||
| E22. Gm−Calibration−Test.。 Gm−SignalRangeSW=「A」。 Gm−CalibrationShuntVR=55=30,000μmho−FullScale(200倍読)。 「7.5mA-10KΩ/75V」 |
||||||||||||||||||||||||||||||||||||||||||||||||||||||||||||||||
![]() |
||||||||||||||||||||||||||||||||||||||||||||||||||||||||||||||||
| E23. Gm−Calibration−Test。 Gm−SignalRangeSW=「B」。 Gm−CalibrationShuntVR=38=15,000μmho−FullScale(100倍読)。 「3.75mA-20KΩ/75V」 |
||||||||||||||||||||||||||||||||||||||||||||||||||||||||||||||||
![]() |
||||||||||||||||||||||||||||||||||||||||||||||||||||||||||||||||
| E24. Gm−Calibration−Test。 Gm−SignalRangeSW=「C」。 Gm−CalibrationShuntVR=87.5=3,000μmho−FullScale(20倍読)。 同時に、Gm−SignalRangeSW=「D」。 Gm−CalibrationShuntVR=87.5=1,500μmho−FullScale(10倍読)。 Gm−SignalRangeSW=「E」。 Gm−Calibration ShuntVR=87.5=300μmho−FullScale(2倍読)。 「0.75mA-100KΩ/75V」 |
||||||||||||||||||||||||||||||||||||||||||||||||||||||||||||||||
![]() |
||||||||||||||||||||||||||||||||||||||||||||||||||||||||||||||||
| F. 高Gm管、高出力管のGm測定。 F11. 「6DJ8(ECC88)」 の測定。 真空管ハンドブック(規格表)の相互コンダクタンス=12250μmho「Ep=90V、Ip=15mA、eg1=−1.3V」 1960/1962ナショナル真空管ハンドブック、全日本真空管マニュアル、オーディオ用真空管マニアル、69'東芝電子管ハンドブック、RC-30 Receiving Tube Manualより。 |
||||||||||||||||||||||||||||||||||||||||||||||||||||||||||||||||
![]() |
||||||||||||||||||||||||||||||||||||||||||||||||||||||||||||||||
| F12. RangeSW=B。 高Gm管「6DJ8」測定。 Gm=15000μmho、Ip=1.29/50=25.9mA。 測定条件、 「Ep=90V、Eg1=−1.3」 |
||||||||||||||||||||||||||||||||||||||||||||||||||||||||||||||||
![]() |
||||||||||||||||||||||||||||||||||||||||||||||||||||||||||||||||
| F13. RangeSW=A。 高Gm管「6DJ8 2本目」測定。 Gm=15000μmho、Ip=1.28/50=25.6mA。 測定条件、 「Ep=90V、Eg1=−1.3」 |
||||||||||||||||||||||||||||||||||||||||||||||||||||||||||||||||
![]() |
||||||||||||||||||||||||||||||||||||||||||||||||||||||||||||||||
| F14. 「6DJ8−2本目」入出力波形測定。 下=グリッド電圧、上=プレート電圧。 | ||||||||||||||||||||||||||||||||||||||||||||||||||||||||||||||||
![]() |
||||||||||||||||||||||||||||||||||||||||||||||||||||||||||||||||
| F21. 「6EJ7(EF184)」 の測定 真空管ハンドブック(規格表)の値。 相互コンダクタンス=15000μmho「Ep=200V、Ip=10mA、eg1=−2.5V」(1960/1962ナショナル真空管ハンドブックより)、(全日本真空管マニュアル、オーディオ用真空管マニアルより)、(69'東芝電子管ハンドブックより) 相互コンダクタンス=12250μmho「Ep=200V、Ip=10mA、eg1=−2.5V」(RC-26,RC-30 Receiving Tube Manualより) |
||||||||||||||||||||||||||||||||||||||||||||||||||||||||||||||||
![]() |
||||||||||||||||||||||||||||||||||||||||||||||||||||||||||||||||
| F22. 高Gm管「6EJ7」測定。 Gm=11500μmho、Ip=0.334/50=6.7mA。 測定条件、 「Ep=Esg=200V、Eg1=−2.5」 |
||||||||||||||||||||||||||||||||||||||||||||||||||||||||||||||||
![]() |
||||||||||||||||||||||||||||||||||||||||||||||||||||||||||||||||
| F23. 高Gm管「6EJ7 2本目」測定。 Gm=11000μmho、Ip=0.29/50=5.8mA。 測定条件、 「Ep=Esg=200V、Eg1=−2.5」 |
||||||||||||||||||||||||||||||||||||||||||||||||||||||||||||||||
![]() |
||||||||||||||||||||||||||||||||||||||||||||||||||||||||||||||||
| F24. 高Gm管「6EJ7 3本目」測定。 Gm=9400μmho、Ip=2.019/50=42.4mA。 測定条件、 「Ep=Esg=200V、Eg1=−2.5」 |
||||||||||||||||||||||||||||||||||||||||||||||||||||||||||||||||
![]() |
||||||||||||||||||||||||||||||||||||||||||||||||||||||||||||||||
| F25. 「6EJ7」測定の入出力波形。 下=グリッド電圧、上=プレート電圧。 | ||||||||||||||||||||||||||||||||||||||||||||||||||||||||||||||||
![]() |
||||||||||||||||||||||||||||||||||||||||||||||||||||||||||||||||
| F31. 「6BQ5(EL84)」 の測定。 真空管ハンドブック(規格表)の相互コンダクタンス=11300μmho 「Ep=Esg=250V、Ip=48mA、eg1=−7.3V」 1960/1962/1964/1966ナショナル真空管ハンドブック、1995オーディオ用真空管マニアル、60/62/69東芝電子管ハンドブック、1962日立電子管ハンドブック、1965/1971全日本真空管マニュアル、RC15/19/26/27/28/29/30 Receiving Tube Manual、1966/実用真空管ハンドブック、1995世界の真空管カタログより。 |
||||||||||||||||||||||||||||||||||||||||||||||||||||||||||||||||
![]() |
||||||||||||||||||||||||||||||||||||||||||||||||||||||||||||||||
| F32. 「6BQ5」測定。 Gm=9400μmho、Ip=1.93/50=38.6mA。 測定条件、 「Ep=250V、Esg=250V、Eg1=−7.3V」 |
||||||||||||||||||||||||||||||||||||||||||||||||||||||||||||||||
![]() |
||||||||||||||||||||||||||||||||||||||||||||||||||||||||||||||||
| F33. 「6BQ5−2本目」測定。 Gm=9900μmho、Ip=2.285/50=45.7mA。 測定条件、 「Ep=250V、Esg=250V、Eg1=−7.3V」 |
||||||||||||||||||||||||||||||||||||||||||||||||||||||||||||||||
![]() |
||||||||||||||||||||||||||||||||||||||||||||||||||||||||||||||||
| F34. 「6BQ5」測定の入出力波形。 下=グリッド電圧、上=プレート電圧。 | ||||||||||||||||||||||||||||||||||||||||||||||||||||||||||||||||
![]() |
||||||||||||||||||||||||||||||||||||||||||||||||||||||||||||||||
| F41. 「6G−B8」 の測定。 真空管ハンドブック(規格表)の相互コンダクタンス=20000μmho 「Ep=250V、Esg=250V、Ip=140mA、Eg1=−8V」 1966実用真空管ハンドブック、1965/1971全日本真空管マニュアル、1995オーディオ用真空管マニアル、60/62/69東芝電子管ハンドブック、1995世界の真空管カタログより。 下記2本は外観は、非常によく似ているが、測定結果は異なる。 |
||||||||||||||||||||||||||||||||||||||||||||||||||||||||||||||||
![]() |
||||||||||||||||||||||||||||||||||||||||||||||||||||||||||||||||
| F42. 高出力管「6G−B8」測定。 Gm=24000μmho、Ip=176mA。 測定条件、 「Ep=250V、Esg=250V、Eg1=−8V」 |
||||||||||||||||||||||||||||||||||||||||||||||||||||||||||||||||
![]() |
||||||||||||||||||||||||||||||||||||||||||||||||||||||||||||||||
| F43. 高出力管「6G−B8 2本目」測定。 Gm=19000μmho、Ip=126mA。 測定条件、 「Ep=250V、Esg=250V、Eg1=−8V」 |
||||||||||||||||||||||||||||||||||||||||||||||||||||||||||||||||
![]() |
||||||||||||||||||||||||||||||||||||||||||||||||||||||||||||||||
| G. 最近の出力真空管 Gm & Ip 測定。 G1. 「electro−harmonix 6550EH」 4本(2ペア)。 Ep=420V、G2=420V、Eg1=−48V、Ip=70〜72mA、Isg=7.4〜9.2mAの測定結果付き 真空管ハンドブック(規格表)の相互コンダクタンス=11500μmho 「Ep=Esg=250V、Ip=140mA、Eg1=−15V」 1960/1962/1964/1966ナショナル真空管ハンドブック、1995オーディオ用真空管マニアル、60/62/69東芝電子管ハンドブック、1962日立電子管ハンドブック、1965/1971全日本真空管マニュアル、RC15/19/26/27/28/29/30 Receiving Tube Manual、1966/実用真空管ハンドブック、1995世界の真空管カタログより。 |
||||||||||||||||||||||||||||||||||||||||||||||||||||||||||||||||
![]() |
||||||||||||||||||||||||||||||||||||||||||||||||||||||||||||||||
| G11. 1本目electro−harmonix 6550EH。 Gm=12000μ、Ip=130mA。 測定条件、 「Ep=250V、Eg2=250V、Eg1=−15V」 |
||||||||||||||||||||||||||||||||||||||||||||||||||||||||||||||||
![]() |
||||||||||||||||||||||||||||||||||||||||||||||||||||||||||||||||
| G12. 2本目electro−harmonix 6550EH。 Gm=10700μ、Ip=122.8mA。 測定条件、 「Ep=250V、Eg2=250V、Eg1=−15V」 |
||||||||||||||||||||||||||||||||||||||||||||||||||||||||||||||||
![]() |
||||||||||||||||||||||||||||||||||||||||||||||||||||||||||||||||
| G13. 3本目electro−harmonix 6550EH。 Gm=10800μ、Ip=121.3mA。 測定条件、 「Ep=250V、Eg2=250V、Eg1=−15V」 |
||||||||||||||||||||||||||||||||||||||||||||||||||||||||||||||||
![]() |
||||||||||||||||||||||||||||||||||||||||||||||||||||||||||||||||
| G14. 4本目electro−harmonix 6550EH。 Gm=11000μ、Ip=121.9mA。 測定条件、 「Ep=250V、Eg2=250V、Eg1=−15V」 |
||||||||||||||||||||||||||||||||||||||||||||||||||||||||||||||||
![]() |
||||||||||||||||||||||||||||||||||||||||||||||||||||||||||||||||
| G2. 「Svetlana KT88」 4本(2ペア)。 Ep=450V、Eg2=450V、Eg1=−48V、Ip=79〜80mA、Isg=8.7〜8.9mAの測定結果付き。 真空管ハンドブック(規格表)の相互コンダクタンス=11500μmho 「Ep=Esg=250V、Ip=140mA、Eg1=−15V」 1960/1962/1964/1966ナショナル真空管ハンドブック、1995オーディオ用真空管マニアル、60/62/69東芝電子管ハンドブック、1962日立電子管ハンドブック、1965/1971全日本真空管マニュアル、RC15/19/26/27/28/29/30 Receiving Tube Manual、1966/実用真空管ハンドブック、1995世界の真空管カタログより。 |
||||||||||||||||||||||||||||||||||||||||||||||||||||||||||||||||
![]() |
||||||||||||||||||||||||||||||||||||||||||||||||||||||||||||||||
| G21. 1本目Svetlana KT88。 Gm=10700μ、Ip=117.5mA。 測定条件、 「Ep=250V、Eg2=250V、Eg1=−15V」 |
||||||||||||||||||||||||||||||||||||||||||||||||||||||||||||||||
![]() |
||||||||||||||||||||||||||||||||||||||||||||||||||||||||||||||||
| G22. 2本目Svetlana KT88。 Gm=11200μ、Ip=114.7mA。 測定条件、 「Ep=250V、Eg2=250V、Eg1=−15V」 |
||||||||||||||||||||||||||||||||||||||||||||||||||||||||||||||||
![]() |
||||||||||||||||||||||||||||||||||||||||||||||||||||||||||||||||
| G23. 3本目Svetlana KT88。 Gm=12000μ、Ip=116mA。 測定条件、 「Ep=250V、Eg2=250V、Eg1=−15V」 |
||||||||||||||||||||||||||||||||||||||||||||||||||||||||||||||||
![]() |
||||||||||||||||||||||||||||||||||||||||||||||||||||||||||||||||
| G24. 4本目Svetlana KT88。 Gm=8500μ、Ip=99.7mA。 測定条件、 「Ep=250V、Eg2=250V、Eg1=−15V」 |
||||||||||||||||||||||||||||||||||||||||||||||||||||||||||||||||
![]() |
||||||||||||||||||||||||||||||||||||||||||||||||||||||||||||||||
| G3. 「SOVTEC 6L6WXT」 4本(2ペア)。 真空管ハンドブック(規格表)の相互コンダクタンス=6000μmho 「Ep=250V、Esg=250V、Ip=72mA、Eg1=−14V」 1960/1962/1964/1966ナショナル真空管ハンドブック、1995オーディオ用真空管マニアル、60/62/69東芝電子管ハンドブック、1962日立電子管ハンドブック、1965/1971全日本真空管マニュアル、RC15/19/26/27/28/29/30 Receiving Tube Manual、1966/実用真空管ハンドブック、1995世界の真空管カタログより。 |
||||||||||||||||||||||||||||||||||||||||||||||||||||||||||||||||
![]() |
||||||||||||||||||||||||||||||||||||||||||||||||||||||||||||||||
| G31. 1本目SOVTEC 6L6WXT。 Gm=5500μ、Ip=42.5mA。 測定条件、 「Ep=230V、Eg2=225V、Eg1=−14V」 |
||||||||||||||||||||||||||||||||||||||||||||||||||||||||||||||||
![]() |
||||||||||||||||||||||||||||||||||||||||||||||||||||||||||||||||
| G32. 2本目SOVTEC 6L6WXT。 Gm=5500μ、Ip=43.1mA。 測定条件、 「Ep=230V、Eg2=225V、Eg1=−14V」 |
||||||||||||||||||||||||||||||||||||||||||||||||||||||||||||||||
![]() |
||||||||||||||||||||||||||||||||||||||||||||||||||||||||||||||||
| G33. 3本目SOVTEC 6L6WXT。 Gm=5700μ、Ip=46mA。 測定条件、 「Ep=230V、Eg2=225V、Eg1=−14V」 |
||||||||||||||||||||||||||||||||||||||||||||||||||||||||||||||||
![]() |
||||||||||||||||||||||||||||||||||||||||||||||||||||||||||||||||
| G34. 4本目SOVTEC 6L6WXT。 Gm=5900μ、Ip=47.5mA。 測定条件、 「Ep=230V、Eg2=225V、Eg1=−14V」 |
||||||||||||||||||||||||||||||||||||||||||||||||||||||||||||||||
![]() |
||||||||||||||||||||||||||||||||||||||||||||||||||||||||||||||||
| G4. 「JJ EL34」 4本(2ペア)。 Ep=250V、Eg2=250V、Eg1=−14.5V、Ip=73〜74mA、Isg=9.7〜9.8mAの測定結果付き。 真空管ハンドブック(規格表)の相互コンダクタンス=11000μmho 「Ep=250V、Esg=250V、Ip=70mA、Eg1=−14V」 1960/1962/1964/1966ナショナル真空管ハンドブック、1995オーディオ用真空管マニアル、60/62/69東芝電子管ハンドブック、1962日立電子管ハンドブック、1965/1971全日本真空管マニュアル、RC15/19/26/27/28/29/30 Receiving Tube Manual、1966/実用真空管ハンドブック、1995世界の真空管カタログより。 |
||||||||||||||||||||||||||||||||||||||||||||||||||||||||||||||||
![]() |
||||||||||||||||||||||||||||||||||||||||||||||||||||||||||||||||
| G41. 1本目JJ EL34。 Gm=10700μ、Ip=62.9mA。 測定条件、 「Ep=250V、Eg2=250V、Eg1=−14.5V」 |
||||||||||||||||||||||||||||||||||||||||||||||||||||||||||||||||
![]() |
||||||||||||||||||||||||||||||||||||||||||||||||||||||||||||||||
| G42. 2本目JJ EL34。 Gm=11000μ、Ip=61.7mA。 測定条件、 「Ep=250V、Eg2=250V、Eg1=−14.5V」 |
||||||||||||||||||||||||||||||||||||||||||||||||||||||||||||||||
![]() |
||||||||||||||||||||||||||||||||||||||||||||||||||||||||||||||||
| G43. 3本目JJ EL34。 Gm=10200μ、Ip=61.9mA。 測定条件、 「Ep=250V、Eg2=250V、Eg1=−14.5V」 |
||||||||||||||||||||||||||||||||||||||||||||||||||||||||||||||||
![]() |
||||||||||||||||||||||||||||||||||||||||||||||||||||||||||||||||
| G44. 4本目JJ EL34。 Gm=10000μ、Ip=59.5mA。 測定条件、 「Ep=250V、Eg2=250V、Eg1=−14.5V」 |
||||||||||||||||||||||||||||||||||||||||||||||||||||||||||||||||
![]() |
||||||||||||||||||||||||||||||||||||||||||||||||||||||||||||||||
| G5. 「JJ EL34L」 4本(2ペア)。 38/7500 多分TV−7での測定? 「TV−7」での測定値38=9500が正しい! TV−7の測定条件「Ep=170V、Eg2=150V、Eg1=?V」 真空管ハンドブック(規格表)の相互コンダクタンス=11000μmho 「Ep=250V、Esg=250V、Ip=70mA、Eg1=−14V」 1960/1962/1964/1966ナショナル真空管ハンドブック、1995オーディオ用真空管マニアル、60/62/69東芝電子管ハンドブック、1962日立電子管ハンドブック、1965/1971全日本真空管マニュアル、RC15/19/26/27/28/29/30Receiving Tube Manual、1966/実用真空管ハンドブック、1995世界の真空管カタログより。 |
||||||||||||||||||||||||||||||||||||||||||||||||||||||||||||||||
![]() |
||||||||||||||||||||||||||||||||||||||||||||||||||||||||||||||||
| G51. 1本目JJ EL34L。 Gm=11700μ、Ip=69.1mA。 測定条件、 「Ep=250V、Eg2=250V、Eg1=−14.5V」 |
||||||||||||||||||||||||||||||||||||||||||||||||||||||||||||||||
![]() |
||||||||||||||||||||||||||||||||||||||||||||||||||||||||||||||||
| G52. 2本目JJ EL34L。 Gm=11800μ、Ip=70.5mA。 測定条件、 「Ep=250V、Eg2=250V、Eg1=−14.5V」 |
||||||||||||||||||||||||||||||||||||||||||||||||||||||||||||||||
![]() |
||||||||||||||||||||||||||||||||||||||||||||||||||||||||||||||||
| G53. 3本目JJ EL34L。 Gm=12200μ、Ip=74.8mA。 測定条件、 「Ep=250V、Eg2=250V、Eg1=−14.5V」 |
||||||||||||||||||||||||||||||||||||||||||||||||||||||||||||||||
![]() |
||||||||||||||||||||||||||||||||||||||||||||||||||||||||||||||||
| G54. 4本目JJ EL34L。 Gm=11900μ、Ip=69.5mA。 測定条件、 「Ep=250V、Eg2=250V、Eg1=−14.5V」 |
||||||||||||||||||||||||||||||||||||||||||||||||||||||||||||||||
![]() |
||||||||||||||||||||||||||||||||||||||||||||||||||||||||||||||||
| H. 変更回路図。 H11. 修理前。 Plate・Baias Supply Circuit。 「回路図は全てTM11−66247−316−35より引用」 |
||||||||||||||||||||||||||||||||||||||||||||||||||||||||||||||||
![]() |
||||||||||||||||||||||||||||||||||||||||||||||||||||||||||||||||
| H12. 修理後。 Plate・Baias Supply Circuit。 平滑回路の電解コンデンサー交換する |
||||||||||||||||||||||||||||||||||||||||||||||||||||||||||||||||
![]() |
||||||||||||||||||||||||||||||||||||||||||||||||||||||||||||||||
| H13. 計画中。 Plate・Baias Supply Circuit。 使用電圧100Vで楽に250Vになる。 | ||||||||||||||||||||||||||||||||||||||||||||||||||||||||||||||||
![]() |
||||||||||||||||||||||||||||||||||||||||||||||||||||||||||||||||
| H21. 修理前。 Screen Supply Circuit。 | ||||||||||||||||||||||||||||||||||||||||||||||||||||||||||||||||
![]() |
||||||||||||||||||||||||||||||||||||||||||||||||||||||||||||||||
| H22. 修理後。 Screen Supply Circuit、 調整電圧範囲が広まる。 平滑回路の電解コンデンサー交換する。 |
||||||||||||||||||||||||||||||||||||||||||||||||||||||||||||||||
![]() |
||||||||||||||||||||||||||||||||||||||||||||||||||||||||||||||||
| H31. 修理前。 Emisson Measurement Circuit。 | ||||||||||||||||||||||||||||||||||||||||||||||||||||||||||||||||
![]() |
||||||||||||||||||||||||||||||||||||||||||||||||||||||||||||||||
| H32. 修理後。 Emisson Measurement Circuit。 トランスも幾つかバジョンがあるので、タップ交換で、「AC20V、AC35V」が供給できた。 |
||||||||||||||||||||||||||||||||||||||||||||||||||||||||||||||||
![]() |
||||||||||||||||||||||||||||||||||||||||||||||||||||||||||||||||
| H41. 修理前。 Leakage Test Circuit。 | ||||||||||||||||||||||||||||||||||||||||||||||||||||||||||||||||
![]() |
||||||||||||||||||||||||||||||||||||||||||||||||||||||||||||||||
| H42. 修理後。 Leakage Test Circuit。 | ||||||||||||||||||||||||||||||||||||||||||||||||||||||||||||||||
![]() |
||||||||||||||||||||||||||||||||||||||||||||||||||||||||||||||||
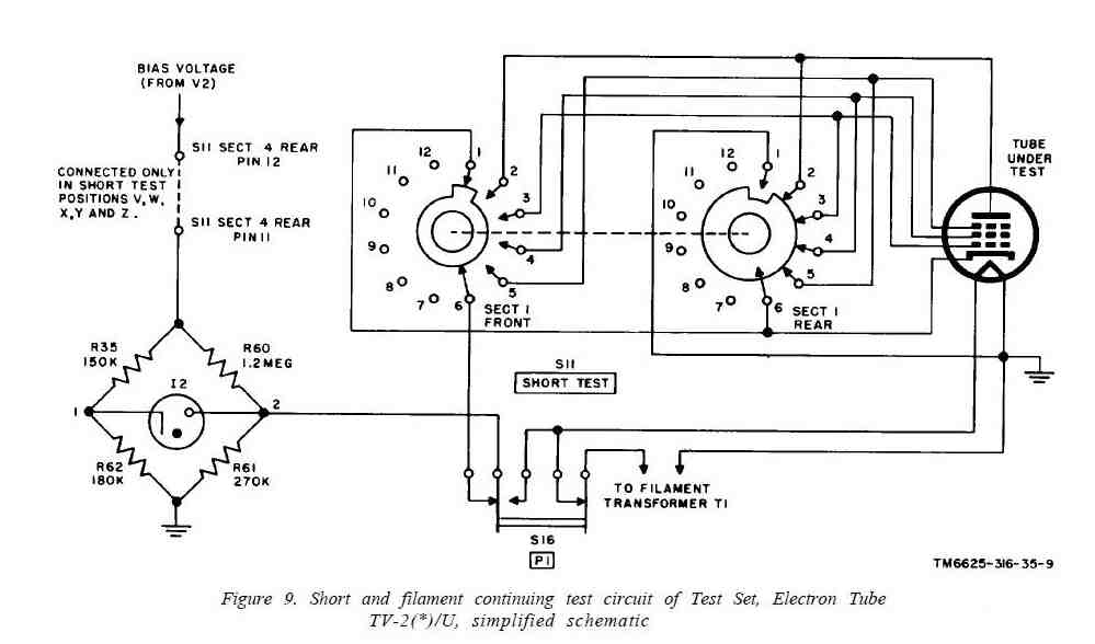
| H51. 修理前。 Short Test Circuit。 | ||||||||||||||||||||||||||||||||||||||||||||||||||||||||||||||||
![]() |
||||||||||||||||||||||||||||||||||||||||||||||||||||||||||||||||
| H52. 修理後。 Short Test Circuit。 | ||||||||||||||||||||||||||||||||||||||||||||||||||||||||||||||||
![]() |
||||||||||||||||||||||||||||||||||||||||||||||||||||||||||||||||
| H61. 修理前。 グリッド、プレート回路。 | ||||||||||||||||||||||||||||||||||||||||||||||||||||||||||||||||
![]() |
||||||||||||||||||||||||||||||||||||||||||||||||||||||||||||||||
| H62. 修理後 発振防止対策、プレート電流測定設定 | ||||||||||||||||||||||||||||||||||||||||||||||||||||||||||||||||
![]() |
||||||||||||||||||||||||||||||||||||||||||||||||||||||||||||||||
| |
||||||||||||||||||||||||||||||||||||||||||||||||||||||||||||||||
| ここに掲載された写真は、その肖像権・版権・著作権等は、放棄しておりません。 写真・記事を無断で商用利用・転載等することを、禁じます。 Copyright(C) 2026 Amp Repair Studio All right reserved. |
||||||||||||||||||||||||||||||||||||||||||||||||||||||||||||||||